ZAZPF-16W型電動單座襯塑調節閥

產品名稱:ZAZPF-16W型電動單座襯塑調節閥
所屬分類: 電動調節閥
產品簡介
?一、ZAZPF-16W型電動單座襯塑調節閥?概述:
ZAZPF-16W型電動單座襯塑調節閥(以下簡稱電動襯塑閥)由直通單座襯塑閥和電動執行機構二部分組成。襯塑閥的閥內腔和閥內件襯有聚全氟乙丙烯(簡稱F46),并在上閥蓋內采用聚四氟乙烯波紋管密封結構。因而電動單座閥塑調節閥可廣泛應用于鹽酸、硫酸、氫氟酸、硝酸、王水、各種強堿和強氧化劑等具有較強腐蝕性介質的調節控制。
襯塑閥具有如下一些特點:
1.耐腐蝕。閥體內腔、閥芯、閥座、閥桿均包襯2.5~
2.密封性能好。上閥蓋與閥桿間采用四氟乙烯波紋管和填料雙重密封。
3.泄漏量小。由于閥芯、閥座是軟密封,故泄漏量小
4.DN3/4以及DN40~150閥體部分為整體式結構,DN20~32閥體為分離式結構。
?
二、產品型號及其編制說明
|
產品型號 |
ZAZPF-10W型 |
ZAZPF-16W型 |
?

?
三、連接形式
|
連接形式 |
閥體公稱壓力 |
閥體材料 |
連接法蘭標準? |
|
法蘭式 |
PN1.0MPa? |
鑄碳鋼WCB |
JB78-59? PN1.0MPa |
|
PN1.6MPa |
鑄碳鋼WCB |
JB79-59 ?PN1.6MPa |
注:口徑為G3/4的襯塑閥為G3/4管螺紋連接。
?
四、主要技術參數
|
公稱通徑DN(mm) |
G3/4 |
20 |
25 |
32 |
40 |
50 |
65 |
80 |
100 |
150 |
|||||||||
|
閥座直徑DN(mm) |
3 |
4 |
5 |
6 |
7 |
8 |
10 |
12 |
15 |
20 |
26 |
32 |
40 |
50 |
65 |
80 |
100 |
150 |
|
|
額定流量系數KV |
0.08 |
0.12 |
0.20 |
0.32 |
0.50 |
0.80 |
1.2 |
2 |
3.2 |
5 |
8 |
12 |
20 |
32 |
50 |
70 |
100 |
240 |
|
|
流量特性 |
直線 |
直線、等百分比 |
|||||||||||||||||
|
公稱壓力PN(MPa) |
1.0 1.6 |
||||||||||||||||||
|
配用執用機構 |
Ⅱ型 |
ZAZ-25 |
ZAZ-25 |
DKZ-310R |
DKZ-310R |
DKZ-410R |
DKZ-510R |
||||||||||||
|
Ⅲ型 |
ZAZ-25;ZAZ-2100 |
ZAZ-25;ZAZ-2100;ZKZ-310R |
ZKZ-2200; ZKZ-310R |
ZKZ-3300; ZKZ-310R |
ZKZ-4400; ZKZ-410R |
ZKZ-4500 ZKZ-450R |
|||||||||||||
|
工作行程mm |
10 |
10 |
16 |
25 |
40 |
60 |
|||||||||||||
|
輸入信號 |
Ⅱ型0~10mADCⅢ型4~20mADC |
||||||||||||||||||
|
作用方式 |
電開式(K常用);電關式(B) |
||||||||||||||||||
|
工作溫度 |
-30~ |
||||||||||||||||||
|
供電電源 |
220V50~60Hz |
||||||||||||||||||
|
防爆等級 |
普通型、防爆型dⅡBT3 |
||||||||||||||||||
|
固有可調比R |
30:1 |
||||||||||||||||||
注:如配其它電動執行機構,可特殊訂貨。
?
五、主要技術性能指標
|
序號 |
項目 |
技術指標 |
|
1 |
基本誤差 |
±5% |
|
2 |
回差 |
3% |
|
3 |
死區 |
5% |
|
4 |
泄漏量 |
10-4×閥額定容量 |
|
5 |
額定流量系數誤差 |
±10%,當Kv≤6.3時,為±15% |
|
6 |
臨界流量系數Cf |
流開:0.92;流關:0.80 |
?
六、主要零件及常用材料
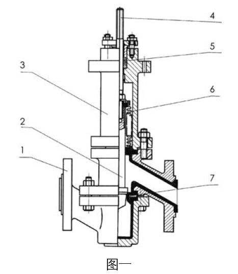
電動單座襯塑調節閥的主要零件及常用材料見圖一和下表。

?
|
序號 |
零件名稱 |
材料 |
|
1 |
閥體 |
WCB襯F46(FEP) |
|
2 |
閥芯 |
2Cr13襯F46(FEP);哈氏合金;蒙乃爾合金 |
|
3 |
上閥蓋 |
WCB襯F46(FEP) |
|
4 |
閥桿 |
1Cr18Ni9 |
|
5 |
填料 |
F4(PTFE);柔性石墨 |
|
6 |
波紋管 |
F4(PTFE) |
|
7 |
閥座 |
2Cr13襯F46(FEP);哈氏合金;蒙乃爾合金 |
?
?
?
?
